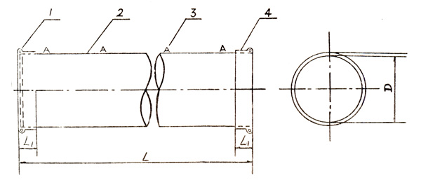
一、用途:用于煤礦、隧道、井下局部扇風機進行正壓通風; 二、風筒結構及規格尺寸 風筒品種:風筒按涂覆布材料分為橡膠涂覆布正壓風筒、塑料涂覆布正壓風筒和橡塑涂覆布正壓風筒。  1-端圈 2-吊環安裝線 3-吊環 4-反邊
三、風筒耐風壓性:風筒經耐風壓試驗后不得產生風筒脫節、涂覆布撕裂、接縫開口等現象。風筒直徑膨脹率不得大于3.0%. 1、耐風壓測定:使風筒內壓達到5000~5100Pa,并保持5min,觀察風筒有無脫節、撕裂、接縫開口等異?,F象; 2、膨脹率測定:在風筒耐風壓測定的同時,用卷尺測量風筒周長,計算風筒直徑膨脹率。 |